37+ mercury 60 hp 4 stroke parts diagram
Mariner 40 Hp 4 Stroke Electrical Components Parts

Mercury Outboard Parts Drawings Tech Video
Class Definition For Class 476 Friction Gear Transmission Systems Or Components
Mercury Mercury 40 Efi 4 Cyl 4 Stroke 1c050252 Up Flywheel Mercury Outboard Motor Parts Van S Sport Center
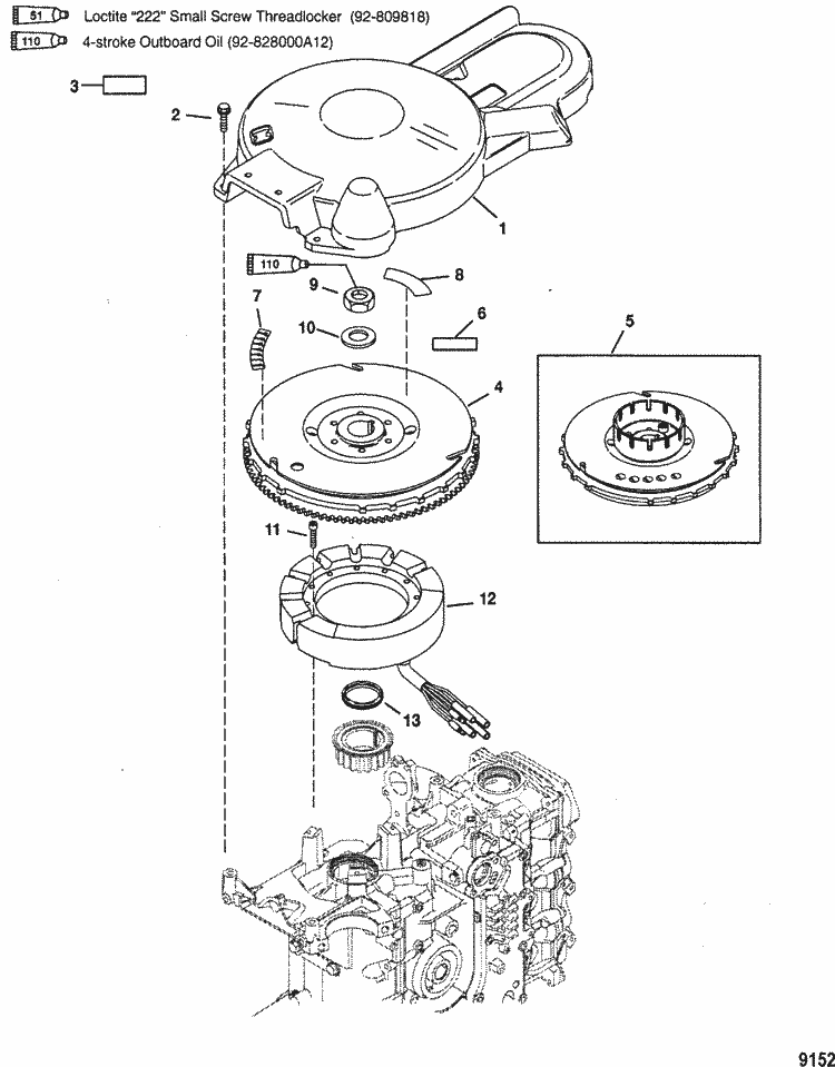
Mercury Marine 40 Hp 4 Stroke Flywheel Parts
Mercury Marine Parts Diagrams For Mariner Mercruiser Motorguide And Force Catalogs Perfprotech Com
Mercury Outboard 60hp Oem Parts Diagram For Jet Components Boats Net
Mercury Marine 40 Hp 4 Stroke 4 Cylinder Cylinder Head Parts
Mercury Marine Parts Diagrams For Mariner Mercruiser Motorguide And Force Catalogs Perfprotech Com
Gek97310 Pdf Pdf Turbine Gas Turbine
Mercury Outboard Parts Drawings Tech Video
Pdf Handbook On Chemical And Biological Waste Management
2 3 Cylinder Mercury Outboard Parts Drawing 1 To 18
Mercury Outboard Parts Drawings Tech Video
Mercury Mariner 60 Efi 4 Stroke Manualzz
Final Programme Abstracts Of Lectures And Posters 7th Conference Of The World Mycotoxin Forum And Xiiith Iupac Internati
Zooplankton Diversity In Relation To Physico Chemical Parameters In Subtropical Pond Of Jammu Jammu And Kashmir India Biosciences Biotechnology Research Asia
Latitude 38 June 2010 By Latitude 38 Media Llc Issuu